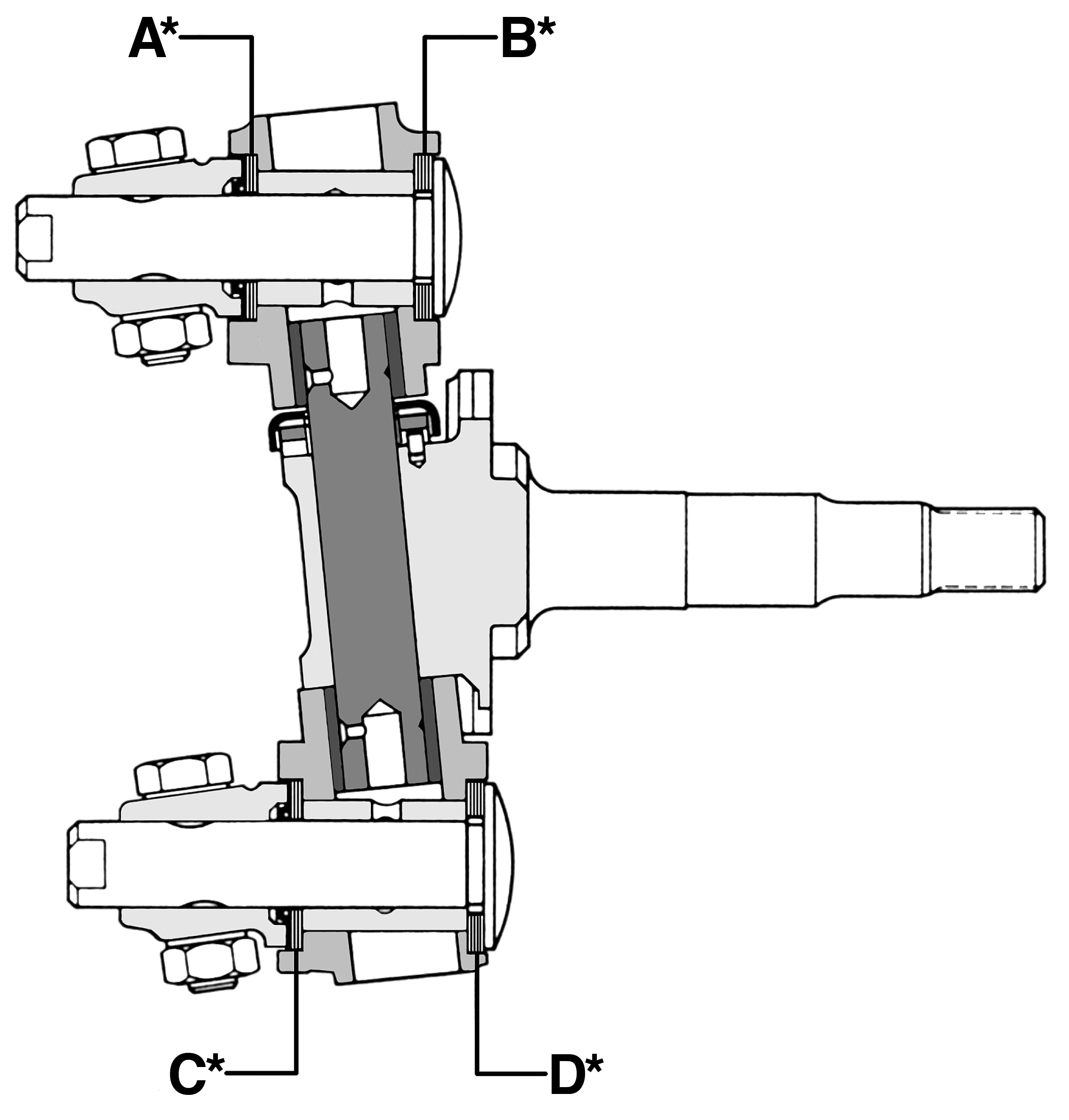
Link Pin Setup Reference Chart

This information is here to help clarify the front end shimming when assembling a VW link pin spindles.

Notes On Link Pin Shim Stack Setup:

• There must always be a total of eight shims and one retainer with the dust excluder fitted to each torsion arm link pin.

• If the offset is 7mm, B* & D* have five shims each with A* & C* have three shims each.

• If the offset is in excess of 7mm, shims should be added to A* and removed from C*.

• If the offset is under 7mm, shims should be removed from A* and added to C*.

• The number of shims at B* & D* should always be brought up to eight.